走進耐得
新聞資訊
產品實物展示
PRODUCT PHYSICAL DISPLAY
PRODUCT CENTER
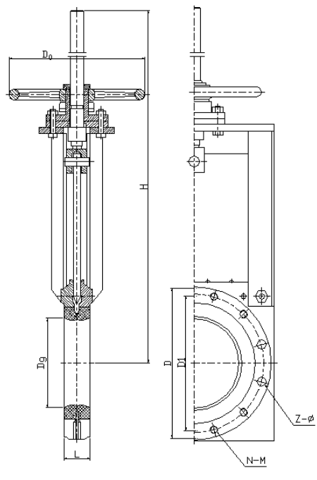
法蘭式手動無隙閘閥結構示意圖
法蘭式手動無隙閘閥外形尺寸
對夾式手動無隙閘閥結構示意圖
對夾式手動無隙閘閥外形尺寸
相關閥門推薦:手動對夾式礦漿刀閘閥、手動襯膠雙面密封閘板閥、電動無隙閘閥